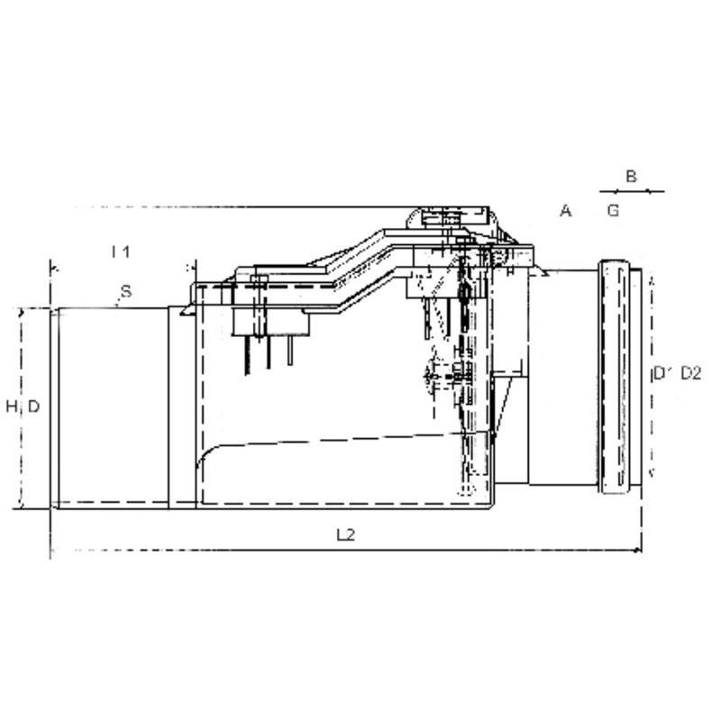
Bampi plug-in check valve with 1 plate diameter 100 mm BVALV100
Bampi plug-in backflow preventer valve with 1 plate for water drainage with the following characteristics:
- Diameter: 100 - 100.4 - 106 (D-D1-D2)
- Dimensions: 3.1x64x320x9.1x6x32 mm (S-L1-L2-G-B-A)
- Height: 187 mm
- Weight: 250 grams
The backflow preventer valve protects the home from flooding, ensuring proper water outflow and preventing backflow.
The backflow preventer valve finds its place in a dedicated accessible and inspectable sump. Its role is to create an effective barrier to any backflow from the sewer system during any possible overflow event. The backflow preventer valve is equipped with a stainless steel plate tilting in the direction of the outflow of water from the building to the sewer system. In the case of backflow, the plate closes mechanically with the thrust of water. The plate, acting on a special lever, can be permanently hermetically locked.
The backflow preventer valve is provided when designing and sizing the building drainage system according to UNI 12056-3. Also, its use is absolutely recommended in existing buildings, where it is possible to work on the sewer connection pipe and there is physical space to make a manhole to accommodate the valve.
The backflow preventer valve must be approved in accordance with European standard EN 13564-1:2003, which guarantees its requirements, such as: outflow effectiveness, non-deformability, strength, hydraulic tightness, connection compliance, and correct opening/closing actuation.
Knowing the principle of communicating vessels, according to which water tends to maintain the same level in all branches of a hydraulic circuit, when we talk about backflow, we define the maximum level of water in a hydraulic circuit beyond which outflow from the circuit occurs. For this reason, if sanitary utilities are below the backflow level (tending to be basements, cellars, garages, but also residential rooms that are below street level in any case), flooding may occur during sewer overflow. Reasons for the backflow effect may be as follows:
- An improperly sized sewer network
- High hydraulic flow rates determined by short but very intense rainfall events
- Increased rainfall volumes channeled by collectors in relation to building increase and urbanization
- Water overload due to contemporary peaks in areas of high urban density
- Malfunctions and occlusions downstream of the sewer system.
- Backflow protection applies both where a separation of white and black water has been adopted and where there is mixed water
Data sheet
- Diameter: 100mm
- Type: Non-return valves
: 1

